大東海泵業無錫有限公司
銷售總部:江蘇無錫新吳區長江路21-1號創源大廈309
生產基地:無錫市東港鎮
銷售熱線:0510-82108358
銷售熱線:0510-82116911
聯系電話:13395114288
QQ: 2634113519


大東海泵業無錫有限公司
銷售總部:江蘇無錫新吳區長江路21-1號創源大廈309
生產基地:無錫市東港鎮
銷售熱線:0510-82108358
銷售熱線:0510-82116911
聯系電話:13395114288
QQ: 2634113519


很多客戶在采購立式管道泵之前,想先了解一下自己要采購的產品具體安裝尺寸、參數、重量等信息,這是非常有必要的。
下面,我公司具體給大家列出立式管道泵ISG40-125的詳細數據:
流量:6.3M3/H;揚程:20M;功率:1.1KW;轉速:2900r/min;必須汽蝕余量:2.3米
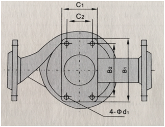
外形尺寸等詳見下表:

| 型號 | H | L | h | B1*C1 | B2*C2 | d 1 | 重量(KG) |
| ISG40-125 | 447 | 260 | 85 | 150*100 | 120*70 | 14 | 45 |
立式管道泵的安裝說明:
1.安裝時管路的重量不應承受在泵上,否則易損壞水泵;
2.泵與電機是整體結構,出廠時已由廠家校正,安裝時無需調整,因此安裝十分方便;
3.安裝時必須擰緊地腳螺栓,且每隔一定時間應對泵進行檢查,防止其松動,以免水泵啟動時發生震動而影響泵的性能;
4.安裝水泵前應仔細檢查泵流道內有無影響水泵運行的硬物(如石塊、鐵砂等),以免水泵運行時損壞過流部件;
5.為了維修方便及安全使用,在泵的進出口管路上安裝一只調節閥及在泵進口附近安裝一只壓力表,對于高揚程泵,為了防止水錘,還應在出口閘閥前安裝一只止回閥以應付突然斷電等失去動力事故,從而確保水泵在最 佳工況下運行,延長水泵的使用壽命;
6.泵用于有吸程場合,應裝有底閥,且進口管不應有過多彎頭,同時不得有漏水、漏氣現象,以免影響水泵的吸入性能;
7.為不使雜質進入內而堵塞流道,應在泵進口前安裝過濾器;
8.安裝管路前轉動水泵的轉子部件,應無摩擦聲或卡死現象,否則應將泵拆開檢查原因。
如果您還有其他的安裝尺寸需要咨詢,請聯系大東海泵業,我們將竭誠為您服務。謝謝!