大東海泵業無錫有限公司
銷售總部:江蘇無錫新吳區長江路21-1號創源大廈309
生產基地:無錫市東港鎮
銷售熱線:0510-82108358
銷售熱線:0510-82116911
聯系電話:13395114288
QQ: 2634113519


大東海泵業無錫有限公司
銷售總部:江蘇無錫新吳區長江路21-1號創源大廈309
生產基地:無錫市東港鎮
銷售熱線:0510-82108358
銷售熱線:0510-82116911
聯系電話:13395114288
QQ: 2634113519


ISW型臥式管道離心泵產品概述

ISW型臥式離心泵根據IS型離心泵與立式泵的獨特結構組合設計,并嚴格按照國際標準ISO2858和最 新的國家管道離心泵標準JB/T53058-93進行設計制造的高效節能產品。該泵采用國內先進水力模型優化設計而成。同時根據使用溫度、介質等不同在ISW型基礎上派生出熱水泵、高溫泵、化工泵、油泵等,是目前國家標準定型推廣產品。
ISW型臥式管道離心泵型號意義

例如:ISW100-160(I)AB
ISW-臥式離心泵
100-泵進、出口公稱直徑(mm)
160-葉輪名義直徑(mm)
I-流量分類
AB-葉輪經第 一、二次切割
ISW型臥式管道離心泵產品特點
1、運行平穩:泵軸的絕 對同心度葉輪優異的動靜平衡,保證平穩運行,絕無振動。
2、滴水不漏:不同材質的硬質合金密封,保證了不同介質輸送均無泄漏。
3、噪音低:兩個低噪音軸承下的水泵,運轉平穩,除電機微弱聲響,基本無噪聲。
4、故障率低:結構簡單合理,關鍵部分采用國際一流品質配套,整機無故障工作時間大大提高。
5、維修方便:更換密封、軸承、簡易方便。
6、占地更省:出口可向左、向右、向上三個方向,便于管道布置安裝,節省空間。
ISW型臥式管道離心泵主要用途
1、 ISW型管道泵,供輸送清水及物理化學性質類似于清水的其他液體之用,適用于工業和城市給排水,高層建筑增壓送水,園林灌溉,消防增壓及設備配套,使用溫度T:<80℃。
2、 ISWR(WRG)型熱水(高溫)循環泵廣泛適用于能源、冶金、化工、紡織、造紙、以及賓館飯店等鍋爐高溫熱水增壓循環輸送及城市采暖系統循環用泵,ISWR使用溫度T:<120℃、WRG使用溫度T:<240℃。
3、 ISWH型臥式化工泵,供輸送不含固體顆粒,具有腐蝕性,粘度類似于水的液體,適用于石油、化工、冶金、電力、造紙、食品、制藥和合成纖維等部門,使用溫度T:-20℃-120℃。
4、 ISWB型臥式油泵,供輸送汽油、柴油、煤油等石油產品,使用溫度T:-20℃-120℃。
ISW型臥式管道離心泵使用條件
1、 吸入壓力<1.0Mpa,或泵系統最高工作壓力<1.6Mpa,即泵吸入口壓力+泵揚程< 1.6Mpa、泵靜壓試驗壓力為2.5Mpa,訂貨時請注明系統工作壓力。泵系統工作壓力大于 1.6Mpa時應在訂貨時另行提出。以便在制造時泵的過流部件和聯接部分采用鑄鋼材料。
2、 環境溫度<40℃,相對濕度<95%。
3、 所輸送介質中固體顆粒體積含量不超過單位體積的0.1%,粒度<0.2mm.
注:如使用介質為帶有細小顆粒,請在訂貨時說明,以便采用耐磨式機械密封。
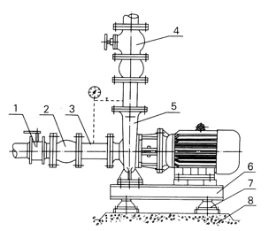
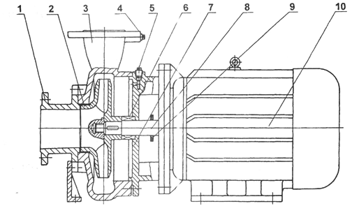
ISW型臥式管道離心泵結構圖
![]() | 1 | 吸入室:采用優 秀水力模型設計而成。 |
| 2 | 葉 輪:采用優 秀水力模型設計而成,高效節能。 | |
| 3 | 泵 體:采用優 秀水力模型設計而成。 | |
| 4 | 取壓塞:安裝壓力表及真空表,以監控泵的正常高效運行。 | |
| 5 | 放氣塞:確保泵的正常維護。 | |
| 6 | 機械密封:采用不銹鋼、硬質合金、氟橡膠等材料制成,耐用消費品磨損,無泄漏,運行壽命長。 | |
| 7 | 泵 蓋: | |
| 8 | 泵 軸:為電機加長軸,確保了軸的同心,使運行平穩,無噪音和振動現象。 | |
| 9 | 擋水圈:防止因密封漏水而使電機進水。 | |
| 10 | Y系列電動機:直接與水泵聯接傳遞動力,部分采用上海名牌電機。 |
ISW型臥式管道離心泵性能參數
| 型號 | 口徑 | 流量 | 揚程 | 效率 | 轉速 | 電機功率 | 必需汽蝕余量 | |
| mm | m3/h | L/S | m | % | r/min | KW | (NPSH)r | |
| 15-80 | 15 |
1.1 1.5 2.0 |
0.3 0.42 0.55 |
8.5 8 7 |
26 34 34 | 2800 | 0.18 | 2.3 |
| 20-110 | 20 |
1.8 2.5 3.3 |
0.5 0.69 0.91 |
16 15 13.5 |
25 34 35 | 2800 | 0.37 | 2.3 |
| 20-160 | 20 |
1.8 2.5 3.3 |
0.5 0.69 0.91 |
33 32 30 |
19 25 23 | 2900 | 0.75 | 2.3 |
| 25-110 | 25 |
2.8 4 5.2 |
0.78 1.11 1.44 |
16 15 13.5 |
34 42 41 | 2900 | 0.55 | 2.3 |
| 25-125 | 25 |
2.8 4 5.2 |
0.78 1.11 1.44 |
20.6 20 18 |
28 36 35 | 2900 | 0.75 | 2.3 |
| 25-125A | 25 |
2.5 3.6 4.6 |
0.69 1.0 1.28 |
17 16 14.4 | 35 | 2900 | 0.55 | 2.3 |
| 25-160 | 25 |
2.8 4 5.2 |
0.78 1.11 1.44 |
33 32 30 |
24 32 33 | 2900 | 1.5 | 2.3 |
| 25-160A | 25 |
2.6 3.7 4.9 |
0.12 1.03 1.36 |
29 28 26 | 31 | 2900 | 1.1 | 2.3 |
| 型號 | 口徑 | 流量 | 揚程 | 效率 | 轉速 | 電機功率 | 必需汽蝕余量 | |
| mm | m3/h | L/S | m | % | r/min | KW | (NPSH)r | |
| 32-100(I) | 32 |
4.4 6.3 8.3 |
1.22 1.75 2.32 |
13.2 12.5 11.3 |
48 54 53 | 2900 | 0.75 | 2.0 |
| 32-125 | 32 |
3.5 5 6.5 |
0.97 0.39 1.8 |
22 20 18 |
40 44 42 | 2900 | 0.75 | 2.3 |
| 32-125A | 32 |
3.1 4.5 5.8 |
0.86 1.25 1.61 |
17.6 16 14.4 | 43 | 2900 | 0.55 | 2.3 |
| 32-160(I) | 32 |
4.4 6.3 8.3 |
1.22 1.75 2.32 |
33.2 32 30.2 |
34 40 42 | 2900 | 2.2 | 2.0 |
| 32-200(I) | 32 |
4.4 6.3 8.3 |
1.22 1.75 2.32 |
50.5 50 48 |
26 33 35 | 2900 | 4 | 2.0 |
| 32-200A | 32 |
2.8 4 5.2 |
0.78 1.11 1.44 |
44.6 44 42.7 |
34 40 42 | 2900 | 2.2 | 2.0 |
| 型號 | 口徑 | 流量 | 揚程 | 效率 | 轉速 | 電機功率 | 必需汽蝕余量 | |
| mm | m3/h | L/S | m | % | r/min | KW | (NPSH)r | |
| 40-100 | 40 |
4.4 6.3 8.3 |
1.22 1.75 2.31 |
13.2 12.5 11.3 |
48 54 53 | 2900 | 0.55 | 2.3 |
| 40-100A | 40 |
3.9 5.6 7.4 |
1.08 1.56 2.06 |
10.6 10 9 | 52 | 2900 | 0.37 | 2.3 |
| 40-125 | 40 |
4.4 6.3 8.3 |
1.22 1.75 2.31 |
21 20 18 |
41 46 43 | 2900 | 1.1 | 2.3 |
| 40-125A | 40 |
3.9 5.6 7.4 |
1.08 1.56 2.06 |
17.6 16 14.4 |
40 45 41 | 2900 | 0.75 | 2.3 |
| 40-160 | 40 |
4.4 6.3 8.3 |
1.22 1.75 2.31 |
33 32 30 |
35 40 40 | 2900 | 2.2 | 2.3 |
| 40-160A | 40 |
4.1 5.9 7.8 |
1.14 1.64 2.17 |
29 28 26.3 |
34 39 39 | 2900 | 1.5 | 2.3 |
| 40-160B | 40 |
3.8 5.5 7.2 |
1.06 1.53 2.0 |
25.5 24 22.5 |
34 38 37 | 2900 | 1.1 | 2.3 |
| 40-200 | 40 |
4.4 6.3 8.3 |
1.22 1.75 2.31 |
51 50 48 |
26 33 32 | 2900 | 4 | 2.3 |
| 40-200A | 40 |
4.1 5.9 7.8 |
1.14 1.64 2.17 |
45 44 42 |
26 31 30 | 2900 | 3 | 2.3 |
| 40-200B | 40 |
3.7 5.3 7.0 |
1.03 1.47 1.94 |
38 36 34.5 | 29 | 2900 | 2.2 | 2.3 |
| 40-250 | 40 |
4.4 6.3 8.3 |
1.22 1.75 2.31 |
82 80 74 |
24 28 28 | 2900 | 7.5 | 2.3 |
| 40-250A | 40 |
4.1 5.9 7.8 |
1.14 1.64 2.17 |
72 70 65 |
24 28 27 | 2900 | 5.5 | 2.3 |
| 40-250B | 40 |
3.8 5.5 7.0 |
1.06 1.53 1.94 |
61.5 60 56 |
23 27 26 | 2900 | 4 | 2.3 |
| 型號 | 口徑 | 流量 | 揚程 | 效率 | 轉速 | 電機功率 | 必需汽蝕余量 | |
| mm | m3/h | L/S | m | % | r/min | KW | (NPSH)r | |
| 40-100(I) | 40 |
8.8 12.5 16.3 |
2.44 3.47 4.53 |
13.2 12.5 11.3 |
55 62 60 | 2900 | 1.1 | 2.3 |
| 40-100(I)A | 40 |
8 11 14.5 |
2.22 3.05 4.03 |
10.6 10 9 | 60 | 2900 | 0.75 | 2.3 |
| 40-125(I) | 40 |
8.8 12.5 16.3 |
2.44 3.47 4.53 |
21.2 20 17.8 |
49 58 57 | 2900 | 1.5 | 2.3 |
| 40-125(I)A | 40 |
8 11 14.5 |
2.22 3.05 4.03 |
17 16 14 | 57 | 2900 | 1.1 | 2.3 |
| 40-160(I) | 40 |
8.8 12.5 16.3 |
2.44 3.47 4.53 |
33 32 30 |
45 52 51 | 2900 | 3 | 2.3 |
| 40-160(I)A | 40 |
8.2 11.7 15.2 |
2.28 3.25 4.22 |
29 28 26 |
44 51 50 | 2900 | 2.2 | 2.3 |
| 40-160(I)B | 40 |
7.3 10.4 13.5 |
2.38 2.89 3.75 |
23 22 20.5 | 50 | 2900 | 1.5 | 2.3 |
| 40-200(I) | 40 |
8.8 12.5 16.3 |
2.44 3.47 4.53 |
51.2 50 48 |
38 46 46 | 2900 | 5.5 | 2.3 |
| 40-200(I)A | 40 |
8.3 11.7 15.3 |
2.31 3.25 4.25 |
45.0 44 42 |
37 45 45 | 2900 | 4 | 2.3 |
| 40-200(I)B | 40 |
7.5 10.6 13.8 |
2.08 2.94 3.83 |
37 36 34 | 44 | 2900 | 3 | 2.3 |
| 40-250(I) | 40 |
8.8 12.5 16.3 |
2.44 3.47 4.53 |
81.2 80 77.5 |
31 38 40 | 2900 | 11 | 2.3 |
| 40-250(I)A | 40 |
8.2 11.6 15.2 |
2.28 3.22 4.22 |
71.0 70 68 | 38 | 2900 | 7.5 | 2.3 |
| 40-250(I)B | 40 |
7.6 10.8 14 |
2.11 3.0 3.89 |
61.4 60 58 | 37 | 2900 | 7.5 | 2.3 |
| 40-250(I)C | 40 |
7.1 10.0 13.1 |
1.97 2.78 3.64 |
53.2 52 50.4 | 36 | 2900 | 5.5 | 2.3 |
| 型號 | 口徑 | 流量 | 揚程 | 效率 | 轉速 | 電機功率 | 必需汽蝕余量 | |
| mm | m3/h | L/S | m | % | r/min | KW | (NPSH)r | |
| 50-100 | 50 |
8.8 12.5 16.3 |
2.44 3.47 4.53 |
13.6 12.5 11.3 |
55 62 60 | 2900 | 1.1 | 2.3 |
| 50-100A | 50 |
8 11 14.5 |
2.22 3.05 4.03 |
11 10 9 | 60 | 2900 | 0.75 | 2.3 |
| 50-125 | 50 |
8.8 12.5 16.3 |
2.44 3.47 4.53 |
21.5 20 17.8 |
49 58 57 | 2900 | 1.5 | 2.3 |
| 50-125A | 50 |
8 11 14.5 |
2.22 3.05 4.03 |
17 16 14 | 57 | 2900 | 1.1 | 2.3 |
| 50-160 | 50 |
8.8 12.5 16.3 |
2.44 3.47 4.53 |
33 32 30 |
45 52 51 | 2900 | 3 | 2.3 |
| 50-160A | 50 |
8.2 11.7 15.2 |
2.28 3.25 4.22 |
29 28 26 |
44 51 50 | 2900 | 2.2 | 2.3 |
| 50-160B | 50 |
7.3 10.4 13.5 |
2.38 2.89 3.75 |
23 22 20.5 | 50 | 2900 | 1.5 | 2.3 |
| 50-200 | 50 |
8.8 12.5 16.3 |
2.44 3.47 4.53 |
52 50 48 |
38 46 46 | 2900 | 5.5 | 2.3 |
| 50-200A | 50 |
8.3 11.7 15.3 |
2.31 3.25 4.25 |
45.8 44 42 |
37 45 45 | 2900 | 4 | 2.3 |
| 50-200B | 50 |
7.5 10.6 13.8 |
2.08 2.94 3.83 |
37 36 34 | 44 | 2900 | 3 | 2.3 |
| 50-250 | 50 |
8.8 12.5 16.3 |
2.44 3.47 4.53 |
82 80 77.5 |
29 38 40 | 2900 | 11 | 2.3 |
| 50-250A | 50 |
8.2 11.6 15.2 |
2.28 3.22 4.22 |
71.5 70 68 | 38 | 2900 | 7.5 | 2.3 |
| 50-250B | 50 |
7.6 10.8 14 |
2.11 3.0 3.89 |
61.4 60 58 | 37 | 2900 | 7.5 | 2.3 |
| 50-250C | 50 |
7.1 10.0 13.1 |
1.97 2.78 3.64 |
53.2 52 50.4 | 36 | 2900 | 5.5 | 2.3 |
| 型號 | 口徑 | 流量 | 揚程 | 效率 | 轉速 | 電機功率 | 必需汽蝕余量 | |
| mm | m3/h | L/S | m | % | r/min | KW | (NPSH)r | |
| 50-100(I) | 50 |
17.5 25 32.5 |
4.86 6.94 9.03 |
13.7 12.5 10.5 |
67 69 69 | 2900 | 1.5 | 2.5 |
| 50-100(I)A | 50 |
15.6 22.3 29 |
4.3 6.19 8.1 |
11 10 8.4 |
65 67 68 | 2900 | 1.1 | 2.5 |
| 50-125(I) | 50 |
17.5 25 32.5 |
4.86 6.94 9.03 |
21.5 20 18 |
60 68 67 | 2900 | 3 | 2.5 |
| 50-125(I)A | 50 |
15.6 22.3 29 |
4.33 6.19 8.1 |
17 16 13.6 |
58 66 65 | 2900 | 2.2 | 2.5 |
| 50-160(I) | 50 |
17.5 25 32.5 |
4.68 6.94 9.03 |
34.4 32 27.5 |
54 63 60 | 2900 | 4 | 2.5 |
| 50-160(I)A | 50 |
16.4 23.4 30.4 |
4.56 6.5 8.44 |
30 28 24 |
54 62 59 | 2900 | 4 | 2.5 |
| 50-160(I)B | 50 |
15.0 21.6 28 |
4.17 6.0 7.78 |
26 24 20.6 | 58 | 2900 | 3 | 2.5 |
| 50-200(I) | 50 |
17.5 25 32.5 |
4.86 6.94 9.03 |
52.7 50 45.5 |
49 58 59 | 2900 | 7.5 | 2.5 |
| 50-200(I)A | 50 |
16.4 23.5 30.5 |
4.56 6.53 8.47 |
46.4 44 40 |
48 57 58 | 2900 | 7.5 | 2.5 |
| 50-200(I)B | 50 |
15.2 21.8 28.3 |
4.22 6.06 7.86 |
40 38 34.5 | 55 | 2900 | 5.5 | 2.5 |
| 50-250(I) | 50 |
17.5 25 32.5 |
4.86 6.94 9.03 |
82 80 76.5 |
39 50 52 | 2900 | 15 | 2.5 |
| 50-250(I)A | 50 |
16.4 23.4 30.5 |
4.56 6.5 8.47 |
71.5 70 67 |
39 50 52 | 2900 | 11 | 2.5 |
| 50-250(I)B | 50 |
15 21.6 28 |
4.17 6.0 7.78 |
61 60 57.4 |
38 49 54 | 2900 | 11 | 2.5 |
| 50-315(I) | 50 |
17.5 25 32.5 |
4.86 6.94 9.03 |
128 125 122 |
30 40 44 | 2900 | 30 | 2.5 |
| 50-315(I)A | 50 |
16.6 23.7 31 |
4.61 6.58 8.6 |
115 113 110 |
30 40 44 | 2900 | 22 | 2.5 |
| 50-315(I)B | 50 |
15.7 22.5 29.2 |
4.36 6.25 8.0 |
103 101 98 | 39 | 2900 | 18.5 | 2.5 |
| 50-315(I)C | 50 |
14.4 20.6 26.8 |
4.0 5.72 7.44 |
86 85 83 | 38 | 2900 | 15 | 2.5 |
| 型號 | 口徑 | 流量 | 揚程 | 效率 | 轉速 | 電機功率 | 必需汽蝕余量 | |
| m3/h | L/S | m | % | r/min | KW | (NPSH)r | ||
| 65-100 | 65 |
17.5 25 32.5 |
4.86 6.94 9.03 |
13.7 12.5 10.5 |
67 69 69 | 2900 | 1.5 | 2.5 |
| 65-100A | 65 |
15.6 22.3 29 |
4.3 6.19 8.1 |
11 10 8.4 |
65 67 68 | 2900 | 1.1 | 2.5 |
| 65-125 | 65 |
17.5 25 32.5 |
4.86 6.94 9.03 |
21.5 20 18 |
60 68 67 | 2900 | 3 | 2.5 |
| 65-125A | 65 |
15.6 22.3 29 |
4.33 6.19 8.1 |
17 16 14.4 |
58 66 65 | 2900 | 2.2 | 2.5 |
| 65-160 | 65 |
17.5 25 32.5 |
4.86 6.94 9.03 |
34.4 32 27.5 |
54 63 60 | 2900 | 4 | 2.5 |
| 65-160A | 65 |
16.4 23.4 30.4 |
4.56 6.5 8.44 |
30 28 24 |
54 62 59 | 2900 | 4 | 2.5 |
| 65-160B | 65 |
15.0 21.6 28 |
4.17 6.0 7.78 |
26 24 20.6 | 58 | 2900 | 3 | 2.5 |
| 65-200 | 65 |
17.5 25 32.5 |
4.86 6.94 9.03 |
52.7 50 45.5 |
49 58 59 | 2900 | 7.5 | 2.5 |
| 65-200A | 65 |
16.4 23.5 30.5 |
4.56 6.53 8.47 |
46.4 44 40 |
48 57 58 | 2900 | 7.5 | 2.5 |
| 65-200B | 65 |
15.2 21.8 28.3 |
4.22 6.06 7.86 |
40 38 34.5 | 55 | 2900 | 5.5 | 2.5 |
| 65-250 | 65 |
17.5 25 32.5 |
4.86 6.94 9.03 |
82 80 76.5 |
39 50 52 | 2900 | 15 | 2.5 |
| 65-250A | 65 |
16.4 23.4 30.5 |
4.56 6.5 8.47 |
71.5 70 67 |
39 50 52 | 2900 | 11 | 2.5 |
| 65-250B | 65 |
15 21.6 28 |
4.17 6.0 7.78 |
61 60 57.4 |
38 49 54 | 2900 | 11 | 2.5 |
| 65-315 | 65 |
17.5 25 32.5 |
4.86 6.94 9.03 |
127 125 122 |
32 40 44 | 2900 | 30 | 2.5 |
| 65-315A | 65 |
16.6 23.7 31 |
4.61 6.58 8.6 |
115 113 110 |
32 40 44 | 2900 | 22 | 2.5 |
| 65-315B | 65 |
15.7 22.5 29.2 |
4.36 6.25 8.0 |
103 101 98 | 39 | 2900 | 18.5 | 2.5 |
| 65-315C | 65 |
14.4 20.6 26.8 |
4.0 5.72 7.44 |
86 85 83 | 38 | 2900 | 15 | 2.5 |
| 型號 | 口徑 | 流量 | 揚程 | 效率 | 轉速 | 電機功率 | 必需汽蝕余量 | |
| mm | m3/h | L/S | m | % | r/min | KW | (NPSH)r | |
| 65-100(I) | 65 |
35 50 65 |
9.72 13.9 18.1 |
13.8 12.5 10 |
67 73 70 | 2900 | 3 | 3.0 |
| 65-100(I)A | 65 |
31.3 44.7 58 |
8.7 12.4 16.1 |
11 10 8 |
66 72 69 | 2900 | 2.2 | 3.0 |
| 65-125(I) | 65 |
35 50 65 |
9.72 13.9 18.1 |
22 20 17 |
67 72.5 70 | 2900 | 5.5 | 3.0 |
| 65-125(I)A | 65 |
31.3 44.7 58 |
8.7 12.5 16.1 |
17.5 16 13.6 |
66 71 69 | 2900 | 4 | 3.0 |
| 65-160(I) | 65 |
35 50 65 |
9.72 13.9 18.1 |
35 32 28 |
63 71 70 | 2900 | 7.5 | 3.0 |
| 65-160(I)A | 65 |
32.7 46.7 61 |
9.1 13.0 16.9 |
30.6 28 24 |
62 70 69 | 2900 | 7.5 | 3.0 |
| 65-160(I)B | 65 |
30.3 43.3 56.3 |
8.4 12.0 15.6 |
26 24 21 | 69 | 2900 | 5.5 | 3.0 |
| 65-200(I) | 65 |
35 50 65 |
9.72 13.9 18.1 |
53.5 50 46 |
55 67 68 | 2900 | 15 | 3.0 |
| 65-200(I)A | 65 |
32.8 47 61 |
9.1 13.1 16.9 |
47 44 40 |
54 66 67 | 2900 | 11 | 3.0 |
| 65-200(I)B | 65 |
30.5 43.5 56.6 |
8.5 12.1 15.7 |
40.6 38 33.4 | 65 | 2900 | 7.5 | 3.0 |
| 65-250(I) | 65 |
35 50 65 |
9.72 13.9 18.1 |
83 80 72 |
52 59 60 | 2900 | 22 | 3.0 |
| 65-250(I)A | 65 |
32.5 46.7 61 |
9.0 13.0 16.9 |
73 70 63 |
52 59 60 | 2900 | 18.5 | 3.0 |
| 65-250(I)B | 65 |
30 43.3 56 |
8.3 12.0 15.6 |
62 60 54 | 58 | 2900 | 15 | 3.0 |
| 65-315(I) | 65 |
35 50 65 |
9.72 13.9 18.1 |
128 125 121 |
44 54 57 | 2900 | 37 | 3.0 |
| 65-315(I)A | 65 |
32.5 46.5 60.5 |
9.0 12.9 16.8 |
112.6 110 106.4 |
43 54 57 | 2900 | 30 | 3.0 |
| 65-315(I)B | 65 |
31 44.5 58 |
8.6 12.4 16.1 |
102.5 100 98 | 53 | 2900 | 30 | 3.0 |
| 65-315(I)C | 65 |
29 41 53.6 |
8.1 11.4 14.9 |
87 85 83 | 51 | 2900 | 22 | 3.0 |
| 型號 | 口徑 | 流量 | 揚程 | 效率 | 轉速 | 電機功率 | 必需汽蝕余量 | |
| mm | m3/h | L/S | m | % | r/min | KW | (NPSH)r | |
| 80-100 | 80 |
35 50 65 |
9.72 13.9 18.1 |
13.8 12.5 10 |
67 73 70 | 2900 | 3 | 3.0 |
| 80-100A | 80 |
31.3 44.7 58 |
8.7 12.5 16.1 |
11 10 8 |
66 72 69 | 2900 | 2.2 | 3.0 |
| 80-125 | 80 |
35 50 65 |
9.72 13.9 18.1 |
22 20 17 |
67 72.5 70 | 2900 | 5.5 | 3.0 |
| 80-125A | 80 |
31.3 45 58 |
8.7 12.5 16.1 |
17.5 16 13.6 |
66 71 69 | 2900 | 4 | 3.0 |
| 80-160 | 80 |
35 50 65 |
9.72 13.9 18.1 |
35 32 28 |
63 71 70 | 2900 | 7.5 | 3.0 |
| 80-160A | 80 |
32.7 46.7 61 |
9.1 13.0 16.9 |
30.6 28 24 |
62 70 69 | 2900 | 7.5 | 3.0 |
| 80-160B | 80 |
30.3 43.3 56.3 |
8.4 12.0 15.6 |
26 24 21 | 69 | 2900 | 5.5 | 3.0 |
| 80-200 | 80 |
35 50 65 |
9.72 13.9 18.1 |
53.5 50 46 |
55 67 68 | 2900 | 15 | 3.0 |
| 80-200A | 80 |
32.8 47 61 |
9.1 13.1 16.9 |
47 44 40 |
54 66 67 | 2900 | 11 | 3.0 |
| 80-200B | 80 |
30.5 43.5 56.6 |
8.5 12.1 15.7 |
40.6 38 33.4 | 65 | 2900 | 7.5 | 3.0 |
| 80-250 | 80 |
35 50 65 |
9.72 13.9 18.1 |
83 80 72 |
52 59 60 | 2900 | 22 | 3.0 |
| 80-250A | 80 |
32.5 46.7 61 |
9.0 13.0 16.9 |
73 70 63 |
52 59 60 | 2900 | 18.5 | 3.0 |
| 80-250B | 80 |
30 43.3 56 |
8.3 12.0 15.6 |
62 60 54 | 58 | 2900 | 15 | 3.0 |
| 80-315 | 80 |
35 50 65 |
9.72 13.9 18.1 |
128 125 122 |
43 54 57 | 2900 | 37 | 3.0 |
| 80-315A | 80 |
32.5 46.5 60.5 |
9.0 12.9 16.8 |
112.6 110 107.4 |
43 54 57 | 2900 | 30 | 3.0 |
| 80-315B | 80 |
31 44.5 58 |
8.6 12.4 16.1 |
102.5 100 98 | 53 | 2900 | 30 | 3.0 |
| 80-315C | 80 |
29 41 53.6 |
8.1 11.4 14.9 |
98 85 83 | 51 | 2900 | 22 | 3.0 |
| 80-350 | 80 |
35 50 65 |
9.72 13.9 18.1 |
146 150 142 |
55 66 67 | 2900 | 55 | 3.0 |
| 80-350A | 80 |
31 44.5 58 |
8.6 12.4 16.1 |
138.4 142 134.8 | 65 | 2900 | 45 | 3.0 |
| 80-350B | 80 |
29 41 53.6 |
8.1 11.4 14.9 |
131.4 135 127.8 | 63 | 2900 | 37 | 3.0 |
| 型號 | 口徑 | 流量 | 揚程 | 效率 | 轉速 | 電機功率 | 必需汽蝕余量 | |
| mm | m3/h | L/S | m | % | r/min | KW | (NPSH)r | |
| 80-100(I) | 80 |
70 100 130 |
19.4 27.8 36.1 |
13.6 12.5 11 |
66 76 75 | 2900 | 5.5 | 4.5 |
| 80-100(I)A | 80 |
62.6 89 116 |
17.4 24.7 32.2 |
11 10 8.8 |
64 74 74 | 2900 | 4 | 4.5 |
| 80-125(I) | 80 |
70 100 130 |
19.4 27.8 36.1 |
23.5 20 14 |
70 76 65 | 2900 | 11 | 4.5 |
| 80-125(I)A | 80 |
62.6 89 116 |
17.4 24.7 32.2 |
19 16 11 |
68 74 65 | 2900 | 7.5 | 4.5 |
| 80-160(I) | 80 |
70 100 130 |
19.4 27.8 36.1 |
36.5 32 24 |
70 76 65 | 2900 | 15 | 4.5 |
| 80-160(I)A | 80 |
65.4 93.5 121.6 |
18.2 26.0 33.8 |
32 28 21 |
68 74 67 | 2900 | 11 | 4.5 |
| 80-160(I)B | 80 |
60.6 86.6 112.5 |
16.8 24.1 31.3 |
72 24 18 | 72 | 2900 | 11 | 4.5 |
| 80-200(I) | 80 |
70 100 130 |
19.4 27.8 36.1 |
54 50 42 |
65 74 73 | 2900 | 22 | 4.0 |
| 80-200(I)A | 80 |
65.4 93.5 121.6 |
18.2 26.0 33.8 |
47.5 44 37 |
64 73 72 | 2900 | 18.5 | 4.0 |
| 80-200(I)B | 80 |
61 87 113 |
16.9 24.2 31.4 |
41 38 32 | 71 | 2900 | 15 | 4.0 |
| 80-250(I) | 80 |
70 100 130 |
19.4 27.8 36.1 |
87 80 68 |
62 69 68 | 2900 | 37 | 4.0 |
| 80-250(I)A | 80 |
65.4 93.5 121.6 |
18.2 26.0 33.8 |
76 70 59.5 |
61 68 67 | 2900 | 30 | 4.0 |
| 80-250(I)B | 80 |
61 87 113 |
16.9 24.2 31.4 |
65 60 51 | 66 | 2900 | 30 | 4.0 |
| 80-315(I) | 80 |
70 100 130 |
19.4 27.8 36.1 |
132 125 114 |
55 66 67 | 2900 | 75 | 4.0 |
| 80-315(I)A | 80 |
66.5 95 123.6 |
18.5 26.4 34.3 |
119 113 103 |
55 66 67 | 2900 | 55 | 4.0 |
| 80-315(I)B | 80 |
63 90 117 |
17.5 25 32.5 |
106.6 101 92 | 65 | 2900 | 45 | 4.0 |
| 80-315(I)C | 80 |
58 82 107 |
16.1 22.8 29.7 |
90 85 76 | 63 | 2900 | 37 | 4.0 |
| 型號 | 口徑 | 流量 | 揚程 | 效率 | 轉速 | 電機功率 | 必需汽蝕余量 | |
| mm | m3/h | L/S | m | % | r/min | KW | (NPSH)r | |
| 100-100 | 100 |
70 100 130 |
19.4 27.8 36.1 |
13.6 12.5 11 |
66 76 75 | 2900 | 5.5 | 4.5 |
| 100-100A | 100 |
62.6 89 116 |
17.4 47 32.2 |
11 10 8.8 |
64 74 74 | 2900 | 4 | 4.5 |
| 100-125 | 100 |
70 100 130 |
19.4 27.8 36.1 |
23.5 20 14 |
70 76 65 | 2900 | 11 | 4.5 |
| 100-125A | 100 |
62.6 89 116 |
17.4 24.7 32.2 |
19 16 11 |
68 74 63 | 2900 | 7.5 | 4.5 |
| 100-160 | 100 |
70 100 130 |
19.4 27.8 36.1 |
36.5 32 24 |
70 76 65 | 2900 | 15 | 4.5 |
| 100-160A | 100 |
65.4 93.5 121.6 |
18.2 26.0 33.8 |
32 28 21 |
68 74 67 | 2900 | 11 | 4.5 |
| 100-160B | 100 |
60.6 86.6 112.5 |
16.8 24.1 31.3 |
27 24 18 | 72 | 2900 | 11 | 4.5 |
| 100-200 | 100 |
70 100 130 |
19.4 27.8 36.1 |
54 50 42 |
65 74 73 | 2900 | 22 | 4.0 |
| 100-200A | 100 |
65.4 93.5 121.6 |
18.2 26.0 33.8 |
47.5 44 37 |
64 73 72 | 2900 | 18.5 | 4.0 |
| 100-200B | 100 |
61 87 113 |
16.9 24.2 31.4 |
41 38 32 | 71 | 2900 | 15 | 4.0 |
| 100-250 | 100 |
70 100 130 |
19.4 27.8 36.1 |
37 80 68 |
62 69 68 | 2900 | 37 | 4.0 |
| 100-250A | 100 |
65.4 93.5 121.6 |
18.2 26.0 33.8 |
76 70 59.5 |
61 68 67 | 2900 | 30 | 4.0 |
| 100-250B | 100 |
61 87 113 |
16.9 24.2 31.4 |
65 60 51 | 66 | 2900 | 30 | 4.0 |
| 100-315 | 100 |
70 100 130 |
19.4 27.8 36.1 |
132 125 114 |
55 66 67 | 2900 | 75 | 4.0 |
| 100-315A | 100 |
66.5 95 123.6 |
18.5 26.4 34.3 |
119 113 103 |
65 66 67 | 2900 | 55 | 4.0 |
| 100-315B | 100 |
63 90 117 |
17.5 25 32.5 |
106.6 101 92 | 65 | 2900 | 45 | 4.0 |
| 100-315C | 100 |
58 82 107 |
16.1 22.8 29.7 |
90 85 76 | 63 | 2900 | 37 | 4.0 |
| 型號 | 口徑 | 流量 | 揚程 | 效率 | 轉速 | 電機功率 | 必需汽蝕余量 | |
| mm | m3/h | L/S | m | % | r/min | KW | (NPSH)r | |
| 100-100(I) | 100 |
96 160 192 |
26.7 44.4 53.3 |
14 12.5 10 |
64 73 70 | 2900 | 11 | 4.5 |
| 100-125(I) | 100 |
96 160 192 |
26.7 44.4 53.3 |
24 20 14 |
62 74 69 | 2900 | 15 | 4.5 |
| 100-125(I)A | 100 |
84 140 168 |
23.3 39 46.7 |
20 17 12 |
64 72 68 | 2900 | 11 | 4.5 |
| 100-160(I) | 100 |
96 160 192 |
26.7 44.4 53.3 |
36 32 27 |
69 79 75 | 2900 | 22 | 5.6 |
| 100-160(I)A | 100 |
84 140 168 |
23.3 39 46.7 |
32 28 23.5 |
66 76 72 | 2900 | 18.5 | 5.0 |
| 100-200(I) | 100 |
96 160 192 |
26.7 44.4 53.3 |
53 50 45 |
69 79 78 | 2900 | 37 | 5.2 |
| 100-200(I)A | 100 |
84 140 168 |
23.3 39 46.7 |
48 45 40 |
64 74 73 | 2900 | 30 | 4.5 |
| 100-200(I)B | 100 |
60 100 120 |
16.7 27.8 33.3 |
43 40 36 | 72 | 2900 | 22 | 4.5 |
| 100-250(I) | 100 |
96 160 192 |
26.7 44.4 53.3 |
83 80 72 |
65 77 74 | 2900 | 55 | 4.8 |
| 100-250(I)A | 100 |
84 140 168 |
23.3 39 46.7 |
75 72 65 |
60 72 69 | 2900 | 45 | 4.5 |
| 100-250(I)B | 100 |
60 100 120 |
16.7 27.8 33.3 |
68 65 58 | 70 | 2900 | 37 | 4.5 |
| 100-350 | 100 |
60 100 120 |
16.7 27.8 33.3 |
153.6 150 142 |
72 57 74 | 2900 | 90 | 4.0 |
| 100-350A | 100 |
61 87 113 |
16.9 24.2 31.4 |
145.6 142 134 | 75 | 2900 | 75 | 4.0 |
| 100-350B | 100 |
58 82 107 |
16.1 22.8 29.7 |
138.6 135 127 | 75 | 2900 | 55 | 4.0 |
| 型號 | 口徑 | 流量 | 揚程 | 效率 | 轉速 | 電機功率 | 必需汽蝕余量 | |
| mm | m3/h | L/S | m | % | r/min | KW | (NPSH)r | |
| 125-100 | 125 |
96 160 192 |
26.7 44.4 53.3 |
13 12.5 12 | 82 | 2900 | 11 | 4.0 |
| 125-100A | 125 |
86 143 172 |
23.9 39.7 47.8 |
10.4 10 9.6 | 77 | 2900 | 7.5 | 4.0 |
| 125-125 | 125 |
96 160 192 |
26.7 44.4 53.3 |
22.6 20 17 | 80 | 2900 | 15 | 4.0 |
| 125-125A | 125 |
86 143 172 |
23.9 39.7 47.8 |
18 16 13.6 | 77 | 2900 | 11 | 4.0 |
| 125-160 | 125 |
96 160 192 |
26.7 44.4 53.3 |
36 32 28 | 78 | 2900 | 22 | 4.0 |
| 125-160A | 125 |
90 150 180 |
25 41.7 50 |
31.5 28 24.5 | 76 | 2900 | 18.5 | 4.0 |
| 125-160B | 125 |
83 138 166 |
21.7 38.3 46.1 |
27 24 21 | 73 | 2900 | 15 | 4.0 |
| 125-200 | 125 |
96 160 192 |
26.7 44.4 53.3 |
55 50 46 | 77 | 2900 | 37 | 5.5 |
| 125-200A | 125 |
90 150 180 |
25 41.7 50 |
48.4 44 40.5 | 76 | 2900 | 30 | 5.5 |
| 125-200B | 125 |
83 138 166 |
21.7 38.3 46.1 |
41.3 37.5 34.5 | 75 | 2900 | 22 | 5.5 |
| 125-250 | 125 |
96 160 192 |
26.7 44.4 53.3 |
87 80 73 | 75 | 2900 | 55 | 5.0 |
| 125-250A | 125 |
90 150 180 |
25 41.7 50 |
76 70 84 | 74 | 2900 | 45 | 5.5 |
| 125-250B | 125 |
83 138 166 |
21.7 38.3 46.1 |
65 60 55 | 73 | 2900 | 37 | 5.5 |
| 125-315 | 125 |
96 160 192 |
26.7 44.7 53.3 |
133 125 119 | 70 | 2900 | 90 | 5.0 |
| 125-315A | 125 |
90 150 180 |
25 41.7 50 |
117 110 104.6 | 70 | 2900 | 75 | 5.0 |
| 125-315B | 125 |
86 143 172 |
23.9 39.7 47.8 |
106.4 100 95.2 | 69 | 2900 | 75 | 5.0 |
| 125-315C | 125 |
80.5 134 161 |
22.4 37.2 44.7 |
96 88 86 | 67 | 2900 | 55 | 5.0 |
| 型號 | 口徑 | 流量 | 揚程 | 效率 | 轉速 | 電機功率 | 必需汽蝕余量 | |
| mm | m3/h | L/S | m | % | r/min | KW | (NPSH)r | |
| 150-125 | 150 |
96 160 192 |
26.7 44.4 53.3 |
22.6 24 17 |
66 76 76 | 2900 | 11 | 4.0 |
| 150-125A | 150 |
90 150 180 |
25 41.7 50 |
18 16 13.6 | 77 | 2900 | 7.5 | 4.0 |
| 150-160 | 150 |
96 160 192 |
26.7 44.4 53.3 |
36 32 27 | 75 | 2900 | 22 | 4.0 |
| 150-160A | 150 |
90 150 180 |
25 41.7 50 |
32 28 23.5 | 76 | 2900 | 18.5 | 4.0 |
| 150-160B | 150 |
84 140 168 |
23.3 39 46.7 |
27 24 21 | 73 | 2900 | 15 | 4.0 |
| 150-200 | 150 |
140 200 260 |
38.9 55.6 72.2 |
13.8 12.5 10.6 |
68 78 78 | 1450 | 15 | 3.0 |
| 150-200A | 150 |
125 176 232.5 |
34.7 49.7 64.6 |
11 10 8.5 |
66 76 76 | 1450 | 11 | 3.0 |
| 150-200B | 150 |
84 140 168 |
23.3 39 46.7 |
41 38 34 | 75 | 2900 | 22 | 4.0 |
| 150-250 | 150 |
140 200 260 |
38.9 55.6 72.2 |
21.8 20 17 |
73 79 77 | 1450 | 18.5 | 3.0 |
| 150-250A | 150 |
129 184.4 240 |
35.8 51.2 66.7 |
18.5 17 14.4 |
72 78 76 | 1450 | 15 | 3.0 |
| 150-250B | 150 |
117 167 217.5 |
32.5 46.4 60.4 |
15.2 14 12 | 76 | 1450 | 11 | 3.0 |
| 150-315 | 150 |
140 200 260 |
38.9 55.6 72.2 |
33.8 32 28 |
70 78 73 | 1450 | 30 | 2.5 |
| 150-315A | 150 |
131 187 243 |
36.4 51.9 67.5 |
29.5 28 24.5 |
69 77 77 | 1450 | 22 | 3.5 |
| 150-315B | 150 |
121 173 225 |
33.5 48.1 62.5 |
25 24 21 | 76 | 1450 | 18.5 | 3.5 |
| 150-350 | 150 |
96 160 192 |
26.7 44.4 53.3 |
153.6 150 142.8 | 80 | 2900 | 110 | 5.5 |
| 150-350A | 150 |
90 150 180 |
25 41.7 50 |
145.6 142 134.8 | 70 | 2900 | 90 | 5.2 |
| 150-350B | 150 |
84 140 168 |
23.3 39 46.7 |
138.6 135 127.8 |
65 76 74 | 2900 | 75 | 5.5 |
| 150-400 | 150 |
140 200 260 |
38.9 55.6 72.2 |
53 50 44 |
68 75 71 | 1450 | 45 | 3.5 |
| 150-400A | 150 |
131 187 243 |
36.4 51.9 67.5 |
46.6 44 38.3 |
67 74 70 | 1450 | 37 | 3.5 |
| 150-400B | 150 |
122 174 226.5 |
33.9 48.3 62.9 |
40 38 33 | 73 | 1450 | 30 | 3.5 |
| 150-400C | 150 |
112 160 208 |
31.1 44.4 57.8 |
34 32 28 | 71 | 1450 | 22 | 3.5 |
| 型號 | 口徑 | 流量 | 揚程 | 效率 | 轉速 | 電機功率 | 必需汽蝕余量 | |
| mm | m3/h | L/S | m | % | r/min | KW | (NPSH)r | |
| 150-250(I) | 150 |
120 200 240 |
33.3 55.6 66.7 |
87 80 72 |
65 76 74 | 2900 | 75 | 4.5 |
| 150-250(I)A | 150 |
112 187 224 |
31.1 51.9 62.2 |
76 70 63 |
64 75 73 | 2900 | 55 | 4.5 |
| 150-250(I)B | 150 |
104 173 208 |
28.9 48.1 57.8 |
65 60 54 |
63 74 72 | 2900 | 45 | 4.5 |
| 150-315(I) | 150 |
120 200 240 |
33.3 55.6 66.7 |
133 125 120 |
58 73 75 | 2900 | 110 | 4.5 |
| 150-315(I)A | 150 |
112 187 224 |
31.1 51.9 62.2 |
116 110 105 |
57 72 74 | 2900 | 90 | 4.5 |
| 150-315(I)B | 150 |
104 173 208 |
28.9 48.1 57.8 |
100 95 91 |
55 70 72 | 2900 | 75 | 4.5 |
| 型號 | 口徑 | 流量 | 揚程 | 效率 | 轉速 | 電機功率 | 必需汽蝕余量 | |
| mm | m3/h | L/S | m | % | r/min | KW | (NPSH)r | |
| 200-200 | 200 |
140 200 260 |
38.9 55.6 72.2 |
13.8 12.5 10.6 |
68 78 78 | 1450 | 15 | 3.0 |
| 200-200A | 200 |
125 179 232.5 |
34.7 49.7 64.6 |
11 10 8.5 |
66 76 76 | 1450 | 11 | 3.0 |
| 200-250 | 200 |
140 200 260 |
21.8 20 17 |
21.8 20 17 |
73 79 77 | 1450 | 18.5 | 3.0 |
| 200-250A | 200 |
129 184.4 240 |
18.5 17 14.4 |
18.5 17 14.4 |
72 78 76 | 1450 | 15 | 3.0 |
| 200-250B | 200 |
117 167 217.5 |
15.2 14 12 |
15.2 14 12 | 76 | 1450 | 11 | 3.0 |
| 200-315 | 200 |
140 200 260 |
33.8 32 28 |
33.8 32 28 |
70 78 78 | 1450 | 30 | 3.5 |
| 200-315A | 200 |
131 189 243 |
29.5 28 24.5 |
29.5 28 24.5 |
69 77 77 | 1450 | 22 | 3.5 |
| 200-315B | 200 |
121 173 225 |
25 24 21 |
25 24 21 | 76 | 1450 | 18.5 | 3.5 |
| 200-400 | 200 |
140 200 260 |
53 50 44 |
53 50 44 |
68 75 71 | 1450 | 45 | 3.5 |
| 200-400A | 200 |
131 187 243 |
46.6 44 38.3 |
46.6 44 38.3 |
67 74 70 | 1450 | 37 | 3.5 |
| 200-400B | 200 |
122 174 226.5 |
40 38 33 |
40 38 33 | 73 | 1450 | 30 | 3.5 |
| 200-400C | 200 |
112 160 208 |
34 32 28 |
34 32 28 | 71 | 1450 | 22 | 3.5 |
| 型號 | 口徑 | 流量 | 揚程 | 效率 | 轉速 | 電機功率 | 必需汽蝕余量 | |
| mm | m3/h | L/S | m | % | r/min | KW | (NPSH)r | |
| 200-200(I) | 200 |
280 400 520 |
77.8 111.1 144 |
13.4 12.5 10.5 |
70 80 79 | 1450 | 22 | 4.0 |
| 200-200(I)A | 200 |
250 358 465 |
69.4 90.4 129.2 |
10.7 10 8.5 |
68 73 77 | 1450 | 18.5 | 4.0 |
| 200-250(I) | 200 |
280 400 520 |
77.8 111.1 144 |
22.2 20 14 |
75 80 72 | 1450 | 30 | 4.0 |
| 200-250(I)A | 200 |
250 358 465 |
69.4 99.4 129.2 |
18 16 11.2 |
73 78 70 | 1450 | 22 | 4.0 |
| 200-250(I)B | 200 |
226 322 419 |
62.8 89.4 116.4 |
14.4 13 7.3 |
70 75 67 | 1450 | 18.5 | 4.0 |
| 200-315(I) | 200 |
280 400 520 |
77.8 111.4 144 |
36 32 26 |
73 80 75 | 1450 | 55 | 4.0 |
| 200-315(I)A | 200 |
262 374 486 |
72.8 103.9 135 |
31.5 28 23 |
72 79 74 | 1450 | 45 | 4.0 |
| 200-315(I)B | 200 |
242 346 450 |
67.3 96.1 125 |
27 24 19.5 | 78 | 1450 | 37 | 4.0 |
| 200-400(I) | 200 |
280 400 520 |
77.8 111.4 144 |
54.5 50 39 |
75 81 77 | 1450 | 75 | 4.0 |
| 200-400(I)A | 200 |
262 374 486 |
72.8 103.9 135 |
48 44 34 | 80 | 1450 | 75 | 4.0 |
| 200-400(I)B | 200 |
242 346 450 |
67.2 96.1 125 |
41.4 38 29.6 | 78 | 1450 | 55 | 5.0 |
| 200-400(I)C | 200 |
224 320 416 |
62.2 88.9 115.6 |
34.9 32 25 | 76 | 1450 | 45 | 5.0 |
| 型號 | 口徑 | 流量 | 揚程 | 效率 | 轉速 | 電機功率 | 必需汽蝕余量 | |
| mm | m3/h | L/S | m | % | r/min | KW | (NPSH)r | |
| 250-250 | 250 |
350 550 650 |
97.2 152.8 180.5 |
22 20 16 |
78 82 81 | 1450 | 45 | 5.0 |
| 250-250A | 250 |
300 500 600 |
83.3 139 166.7 |
18.3 17 14 |
76 80 80 | 1450 | 37 | 5.0 |
| 250-235 | 250 |
300 500 600 |
83.3 139 166.7 |
14 12.5 11 |
73 78 70 | 1480 | 22 | 4.5 |
| 250-300 | 250 |
300 500 600 |
83.3 139 166.7 |
22 20 16 | 78 | 1480 | 37 | 4.5 |
| 250-315 | 250 |
350 550 650 |
97.2 152.8 180.5 |
34 32 28 |
76 80 79 | 1450 | 75 | 5.5 |
| 250-315A | 250 |
300 500 600 |
83.3 139 166.7 |
29.5 28 24 |
74 78 77 | 1450 | 55 | 5.5 |
| 250-315B | 250 |
260 450 520 |
72.2 125 144.4 |
25 24 20 |
70 74 72 | 1450 | 45 | 5.5 |
| 250-400 | 250 |
300 500 600 |
83.3 139 166.7 |
54.5 50 39 | 72 | 1480 | 90 | 4.5 |
| 型號 | 口徑 | 流量 | 揚程 | 效率 | 轉速 | 電機功率 | 必需汽蝕余量 | |
| mm | m3/h | L/S | m | % | r/min | KW | (NPSH)r | |
| 300-235 | 300 |
480 720 900 |
133.3 200 250 |
20 18 15.5 |
77 81 74 | 970 | 55 | 5.0 |
| 300-235A | 300 |
438 607 821 |
121.7 182.5 228.1 |
16.5 15 13 |
75 79 72 | 970 | 45 | 5.0 |
| 300-235B | 300 |
400 600 750 |
111.1 167.0 208.3 |
14 12.5 11 |
73 77 70 | 970 | 37 | 5.0 |
| 300-300 | 300 |
480 720 900 |
133.3 200 250 |
31 28 25 |
77 81 77 | 970 | 75 | 5.0 |
| 300-300A | 300 |
444 666 833 |
123.3 185 231.4 |
26.5 24 21.5 |
76 80 76 | 970 | 75 | 5.0 |
| 300-300B | 300 |
415 623 779 |
115.3 173.1 261.4 |
23 21 18.5 | 79 | 970 | 55 | 5.0 |
| 300-380 | 300 |
480 720 900 |
133.3 200 250 |
48 44 34 | 84 | 970 | 132 | 5.0 |
| 300-380A | 300 |
444 666 833 |
123.3 185 231.4 |
41.4 38 30 | 80 | 970 | 110 | 5.0 |
| 300-380B | 300 |
409 614 767 |
113.6 170.6 213.1 |
35 32 25 | 78 | 970 | 90 | 5.0 |
| 300-235(I) | 300 |
718 1080 1345 |
199.4 300 373.6 |
44.6 40 34.6 | 82 | 1450 | 160 | 5.5 |
| 300-235(I)A | 300 |
642 965 1203 |
178.3 268.1 334.2 |
35.7 32 27.7 | 80 | 1450 | 132 | 5.5 |
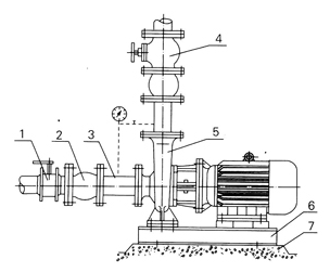
安裝示意圖
剛性安裝
![]() | 1 | 進口球閥 |
| 2 | 撓性接頭 | |
| 3 | 直管 | |
| 4 | 出口閘閥 | |
| 5 | 泵 | |
| 6 | 底座 | |
| 7 | 水泥基座 |
柔性安裝
![]() | 1 | 進口球閥 |
| 2 | 撓性接頭 | |
| 3 | 直管 | |
| 4 | 出口閘閥 | |
| 5 | 泵 | |
| 6 | 底座 | |
| 7 | JGD型減振器 | |
| 8 | 水泥基座 |
1、安裝前應仔細檢查泵體流產內有無硬質物,以免運行時損壞葉輪和泵體。
2、安裝時管路理量不允許加在泵上,以免使泵變形,影響正常運行。
3、擰緊地腳螺栓,以免起動時振動對泵性能產生影響。
4、在泵的進、出口管路上安裝調節閥,在泵出口附近安裝壓力表,以控制泵在額定工況內運行,確保泵的正常使用。
5、排出管路如裝逆止閥應裝在閘閥的外面。
6、泵的安裝方式分為硬性聯接安裝和柔性聯接安裝。
ISW型臥式管道離心泵起動與停車
(一)運行中的維護與保養
1、進口管道必須充滿液體,禁止泵在汽蝕狀態下長期運行。
2、定時檢查電機電流值,不得超過電機額定電流。
3、泵進行長期運行后,由于機械磨損,使機組噪音及振動增大時,應停車檢查,必要時可更換易損件,機組大修期一般為一年。
(二)機械密封維護與保養
1、機械密封潤滑應清潔無固體顆粒。
2、嚴禁機械密封在干磨情況下工作。
3、起動前應盤動泵(電機)幾圈,以免突然起動造成密封環斷損壞。
4、密封泄漏允差3滴/分,否則應檢修。
故障原因及排除方法
| 故障現象 | 可能產生的原因 | 排除方法 |
| 1、水泵不出水 |
a、進出口閥門未打開,進出管路阻塞,葉輪流道阻塞。 b、電機運行方向不對,電機缺相。 c、吸入管漏氣。 d、泵沒灌滿液體,泵腔內有空氣。 e、進口供水不足,吸程過高,底閥漏水。 f、管路阻力過大。 |
a、檢查,去除阻塞物。 b、調整電機方向緊固電機接線。 c、擰緊各密封面,排除空氣。 d、打開泵上蓋或打開排氣閥,排盡 空氣。 e、停機檢查、調整(并網自來水管 和帶吸程使用易出現此現象。) f、減少管路彎道,重新選泵。 |
| 2、水泵流量不足 |
a、先按1。原因檢查。 b、管道、葉輪流產部分阻塞,水垢沉積、閥門開度不足 c、電壓偏低,轉速不符合要求。 d、葉輪磨損。 |
a、先按1。排除。 b、先除阻塞物,重新調整閥門開度 c、穩壓 d、更換葉輪 |
| 3、功率過大 |
a、超過額定流量使用 b、吸程過高 c、泵軸承磨損 d、泵選型不當 |
a、調節流量關小閥門 b、降低吸程。 c、更換軸承。 d、重新選泵。 |
| 4、雜音振動 |
a、管路支撐不穩。 b、液體混有氣體。 c、產生汽蝕。 d、軸承振動。 e、電機超載發熱運行。 |
a、穩固管路。 b、提高吸入壓力、排氣。 c、降低真空度。 d、更換軸承。 e、調整按5。 |
| 5、電機發熱 |
a、流量過大、超載運行。 b、碰擦。 c、電機軸承損壞。 d、電壓偏低。 |
a、關小出口閥。 b、檢查排除。 c、更換軸承。 d、穩壓。 |
| 6、水泵漏水 |
a、機械密封磨損。 b、泵體有砂孔或破裂。 c、密封面不平整。 d、安裝螺栓松懈。 |
a、更換。 b、焊補或更換。 c、修整。 d、緊固。 |